6.1 Persual of documents at Stavanger Police Department in June 1987.

Documents comprised correspondance, letters, testimonials and reports at file. Only testimonials of survivors from <<Kielland>> where at file. The files included no testimonials of personell onboard the Edda-platform adjacent to <<Kielland>> nor personell from the previous crew onboard <<Kielland>>. The testimonials are mostly not in accordance with general police procedures. Several are not properly signed by the witness.

The summary of events documented by the State Ship Inspector gives a good picture of the Commissions work during the first days after the disaster March 27th - April 2nd 1980 (total 15 pages).
March 30th 1980, pages 6-8; The technical expert of the Commission professor Torgeir Moan had called for assistance from Statoil within material inspection and testing. The D-leg was on tow to Stavanger.
Phonecall to Stavanger Police from Kripos (Police Criminal Investigation Head Office in Oslo). Individual calling stated name and rank. He said they had arrested a by name given individual who had declared guilty of using explosives on <<Kielland>>. The named individual was arrested and the police had found dynamite in his home. He had also boarding card for admittance to the Edda-field.
An expert in explosives was called upon from the military at Ulsnes fort. He would participate during inspection of the D-leg when arriving Stavanger.
It was decided not to drydock the D-leg at Kværner Rosenborg Yard in Stavanger as discussed.
Later phonecall to Kripos from Stavanger Police proved earlier message unknown to Kripos. After some phonecalls it was declared as false alarm.
The tow of the D-leg was delayed, would not arrive before next morning.
March 31st 1980, pages 9-11; Inspection of D-leg floating in the fjord.


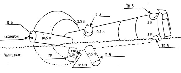
Fig. 6.1.1; D-leg floating in the fjord during inspection.

Bracing D6 with the fatigue crack is pointing up in the air, breaking points at DE and D4 are down in the water and not visuable from above surface. Sketches of all breaking points were made up by professor Moan. Sketches of DE and D4 made by diver. Focus placed on fatigue crack in D6.
During meeting later the same day it was decided to closer examine the underwater fractures DE and D4 the following day. Member of the Commission seacaptain Holm asks for leave. Although he is leaving the Commission seacaptain Holm dives the next day on the D-leg.
April 1st. 1980, page 11-14: Meeting between representatives from insurance company Storebrand, the P & I underwriters, rigoperator Stavanger Drilling and the Commission. Plans were presented to cut of the breaking points and transport them to Statfjords (Statoils?) laboratory. It was further discussed to remove the capsized <<Kielland>> from the Ekofisk field and tow it to shore.
Company Stolt Nielsen was contracted to cut off the breaking points. Materials to be transported to laboratory by truck contracted by Stavanger Police. Work to commence during the night if necessary.
April 2nd.1980; Seacaptain Trygve Westin from Stolt Nielsen was in chargeof the cut off operation. Detailed log from this operation is included in Statoils report to the Commission. DE and D4 were cut off by divers during the night.
The military expert from Ulsnes fort underlines in his report dated April 1st 1980 to the Commission that there was no visuable sign of explosion on the accessible parts of the inspected D-leg.
(D4 was not accessible-under water.)
6.1.1 Discussion D4- lower breaking point
(Stolt Nielsen became later involved in preparation and performance of the second uprighting attempt which would not have been successful unless outside lobbying from others during the summer of 1983 involving H.M. King Olav V.)



File loaded March 18th 1998.
Documents scanned in May 7th 2005:

- Sjøfartsinspektør H. Dale:
Notat fra telefoner m.v. i anledning kantring av plattformen ALEXANDER L. KIELLAND
27 mars - 2. april 1980
side 6
side 7
side 8

- Uttalelse av 1. april 1980 fra Kaptein Kristen Rønning, Våpenskvadronen, Sola Hovedflystasjon

- Brev av 10.april 1980 fra Riksadvokat Magnar Fornes til Statsadvokaten i Rogaland ad:
De flyttbare plattformer "Alexander L. Kielland" og "Henrik Ibsen"
side 1
side 2


Return to top of section "Cover Operation"